四川省2025年普通高考志愿填报系统操作手册(网页端)

发布时间:2025-06-30 11:01来源:开云体育足球官网教育科技局字体【  

    一、系统访问   

使用Chrome浏览器、360浏览器极速模式、QQ浏览器、火狐浏览器等,以确保系统正常运行。避免使用不兼容的浏览器,防止出现页面显示异常或功能无法使用的情况。

二、考生登录   

 https://gkzy.sceea.cn”,回车后进入“四川省教育考试院高考数字服务大厅”首页,选择“志愿填报”,点击“点击进入”按钮。在浏览器地址栏输入“

在登录页面输入考生证件号码和密码(与高考报名时使用的证件号码和密码一致)。输入完成后,填写验证码,并点击“登录”按钮,即可进入系统。

三、找回密码   

若考生忘记密码,则可点击“忘记密码”,通过高考报名时注册的手机号接收短信验证码来重置密码,成功后,报名系统的密码一并修改。若手机号无法接收短信验证码,请联系县(市、区)招考机构重置密码。

四、查看公告与下载资料   

登录完成后,可在首页查看“最新公告”和“资料下载”等。

五、计划查询  

  考生可通过“计划查询”功能查询当年各高校在四川省的招生计划,涵盖各批次、各专业的招生人数、招生要求等信息,帮助考生提前规划和选择志愿。在征集志愿阶段,可以通过“征集计划查询”功能查询征集志愿情况。

  (一)进入计划查询页面

   在系统左侧菜单栏中,点击“计划查询”选项,进入计划查询页面。

  (二)筛选条件设置

考生可以通过录取批次、首选科目要求、再选科目要求、招生项目、区域、专业名称筛选查询在川招生计划。

1.批次

下拉“录取批次”列表框,根据自身情况选择相应批次查看。

2.首选科目要求

查询普通类专业计划,首选科目必须选择物理或历史。

3.再选科目要求

考生可以通过勾选“再选科目要求”,选择对应再选科目进行筛选。

4.招生项目

考生可选择“招生项目”进行筛选。

5.区域筛选

考生可通过“区域”下拉框选择相应省市名称,筛选该省市的招生院校;选择省市后,右侧下拉框会返回对应省市的院校列表。

6.专业搜索

在“专业名称”搜索框中,输入专业名称关键词(如“计算机”),可模糊查询相关专业。输入完成后,点击“查询”按钮,系统将显示符合查询条件的院校及专业招生计划信息。

  (三)院校收藏

  对查询到的院校专业有填报意向,可在院校信息的最右侧,进行“收藏”操作,后续可在志愿填报时从“收藏夹”选择某个专业记录进行单个填充或一键填充。

六、志愿填报    

  (一)志愿填报

面向所有参加高考且符合报考条件的考生。考生可以依据自己的成绩和意愿,填报各个批次的志愿,包括本科提前批、本科批、高职(专科)提前批、高职(专科)批等。

1.进入志愿填报页面

在系统左侧菜单栏中,点击“志愿—志愿填报”选项,进入志愿填报页面。

2.查看基础信息

登录成功后,进入“志愿填报”页面,查看页面上方展示的考生信息,包括考生号、性别、姓名、民族、考试类型、选科组合、报考类别、外语语种等信息。请仔细核对,确保准确无误。

3.开始填报/查看志愿

确认基础信息无误后,点击“开始填报/查看志愿”按钮。

1)选择填报批次

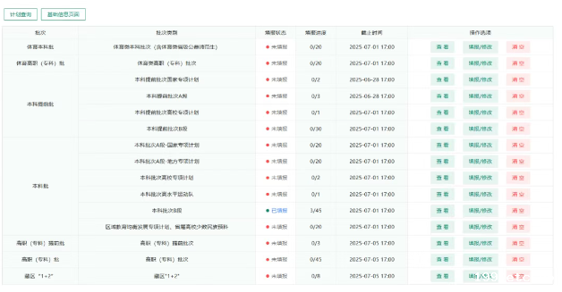
在志愿填报页面中,已列出符合考生类别和考生资格的批次,点击对应批次的“填报/修改”按钮,则进入到对应的志愿填报页。

点击“清空”按钮,则清除该批次类别的所有志愿,请谨慎操作。

“填报进度”为该批次下已填报的院校专业组志愿数。如:1/45,“1”表示已经填报了1个院校专业组志愿数,“45”表示本批次可填报45个院校专业组志愿数。

2)志愿信息填报

①院校与专业组填报

艺术类本科提前批、对口招生本科批、对口招生高职专科批等不设置专业组号。

每个志愿栏可填报1个院校专业组志愿,依次在相应的“院校代号”框中输入院校代号,在“专业组号”框中输入专业组号。

每个院校专业组志愿可填报1-6个该专业组所包含的专业,在对应的“专业”下拉框中选择具体专业。 若填写专业后的为红色,则该专业有备注,请注意点击查看此专业的院校招生要求。

②是否服从专业调剂选择

在每个院校专业组志愿的右侧,有“是否服从专业调剂”选项,考生需根据自身意愿选择“是”或“否”。若选择“是”,则表示接受在该院校专业组内进行专业调剂;若选择“否”,则表示只接受所填报的专业。

③操作选项使用

【删除】:若要删除某个志愿,点击对应志愿右侧操作选项中的“删除”按钮。

【插入】:如需在某个志愿前插入新的志愿,点击“插入”按钮,系统会新增一个志愿栏。

【调整至第£志愿】:可通过该功能调整志愿顺序,将所选志愿调整到指定的志愿序号。

【专业顺序调整】:通过点击专业方框后的“”和“”按钮可实现专业顺序的调整。

3)批量操作

①批量设置专业调剂

点击“批量设置专业调剂”按钮,可对已填报的志愿统一设置专业调剂。

②批量折叠/展开

点击“批量折叠”或“批量展开”按钮,可快速折叠或展开所有志愿栏,方便查阅。

4)收藏夹志愿导入

在志愿信息填报页的右上角,点击“收藏夹”选项,进入志愿收藏管理页面,可查看已收藏的院校专业信息。

①导入码操作

为方便考生填报志愿个数较多的平行志愿批次,“收藏夹”也支持粘贴“2025年四川省新高考志愿填报辅助系统”生成的志愿导入码导入,导入后可以通过“一键填充”功能进行志愿填报。“导入”功能目前可支持普通类的2个批次导入:本科批B段、高职(专科)批志愿。 在收藏夹页面点击“导入收藏夹”选项,进入志愿导入页面,按照提示信息进行导入,导入完毕后,可以通过“一键填充”功能进行志愿填报。

②操作选项使用

【清空收藏夹】:点击“清空收藏夹”按钮,系统将删除当前批次收藏夹内的所有志愿信息。操作前请谨慎确认,以免误删收藏夹内重要志愿。

【刷新】:点击“刷新”按钮,可更新收藏夹内的志愿信息显示,确保看到的是最新状态。

【一键填充】:点击“一键填充”按钮系统将会把当前批次收藏夹中的志愿依次自动填充到对应的志愿填报栏中,若志愿填报页面已填报有志愿,则在该志愿后面依次填充,填充完毕后注意检查志愿填报顺序并及时保存志愿。

5)保存并提交志愿

完成志愿填报后,仔细核对所填信息,确保准确无误。勾选“我已阅读以上所报院校公布的 招生章程(简章),知悉相关招生政策和录取规则。因未认真阅读所报院校招生章程(简章)而对录取产生的不利影响,由本人负责。”前的复选框,然后点击页面下方的“保存并提交”按钮,系统会提示志愿保存成功。

6)退出系统

志愿填报完毕或不继续填报,请一定要点击右上角“退出”按钮,安全退出系统。

七、系统使用注意事项  

   (一)信息安全

妥善保管登录账号和密码,不向他人透露,防止个人信息泄露和志愿被篡改。如发现账号异常登录,及时联系学校或当地招考机构。

  (二)填报时间

  考生一定要规划好志愿填报时间,切勿等到最后一刻再匆忙填报,以避免因电力、网络等原因导致错过志愿填报。

  (三)网络环境

确保填报志愿时网络稳定,避免在填报过程中出现网络中断、卡顿等情况。可在填报前进行网络测试,如遇网络问题,及时更换网络环境或设备。

 

扫一扫在手机打开当前页
Baidu
bob开云